Go Back   Winnipesaukee Forum > Winnipesaukee Forums > General Discussion
Home Forums Gallery Webcams Blogs YouTube Channel Classifieds Register FAQ Members List Donate Today's Posts

Reply
 
Thread Tools Display Modes
Old 01-20-2006, 10:49 AM   #1
Rattlesnake Gal
Senior Member
 
Rattlesnake Gal's Avatar
 
Join Date: Nov 2003
Location: Central NH
Posts: 5,253
Blog Entries: 1
Thanks: 1,455
Thanked 1,357 Times in 476 Posts
Question Dual Batteries vs Battery Protector

Labor Day weekend I was stung by a yellow jacket while hiking on Rattlesnake Island and began to have trouble. Thankfully I had a cell phone and was close enough to a dock to be picked up by boat. (Hindsight being 20/20, we should have headed right over to Wolfeboro and gone to the hospital, but I was too scared.) Once back at the camp, the Benadryl and albuterol seemed to be working and I had an Epi Pen for back up. The next morning it became clear to me that I needed to see a doctor. We packed up, were ready to go and found the blower had been left on and the battery was dead.
(Poor Ben, he felt just terrible.) This was the first time in the four years of owning this boat that this has ever happened. The battery for the electric motor didn’t have enough juice either. Rattlesnake Guy, being the clever fellow he is, put both together and was able to jump start the boat and we were on our way.
While in getting the boat winterized, I was chatting with the technician and I mentioned what happened. He advised that we should have another battery installed for safety reasons especially being on an island. They can even be automatically switched back and fourth to ensure a full charge. Of course that sounds very expensive, but will have to be done.
While browsing through Overton’s catalog I noticed that they have a battery protector. http://www.overtons.com/modperl/over...item_num=20193
What does the forum experts say? Should we just bite the bullet and have the dual batteries installed or would this device be just as good?
Thank you in advance for the advice!
RG

PS: This explains why I was still so lethargic at ForumFest II. You may have noticed I wasn’t my self.
Allergy testing showed that I am very allergic and son having been stung by the same yellow jacket actually saved my life.
Thank you Jeff! My hero.
Special safety note: Run in a different direction than the others while escaping stinging insects!
Sadly this ends my hiking fun on the island unless very early in the year, which is still chancy or after a severe killing frost.
Sometimes life just isn’t fair.
Rattlesnake Gal is offline   Reply With Quote
Old 01-20-2006, 11:08 AM   #2
Woodsy
Senior Member
 
Join Date: May 2004
Location: Weirs Beach
Posts: 1,968
Thanks: 80
Thanked 980 Times in 440 Posts
Default

Rattlesnake Gal...

The dual battery setup isn't that expensive. Its really just a second battery, some wires and a switch. The problem with the system is that its manual. If you forget to turn the switch you could still end up with 2 dead batteries.

I am not familiar with the battery protector, though lots of people seem to sell them.

What I did is just go to your local Sears or Autoparts store and buy whats called a "jump pack". Its essentially a portable way to jump start the boat. They usually can be kept plugged in at the cottage, ready to go. They are also pretty handy during these winter months if your car doesn't like the cold weather.

Woodsy
Woodsy is offline   Reply With Quote
Old 01-20-2006, 11:47 AM   #3
jrc
Senior Member
 
Join Date: Apr 2004
Location: NH
Posts: 2,689
Thanks: 33
Thanked 439 Times in 249 Posts
Default Get the jump pack thing

After being stuck with a dead battery at a mooring, I bought the biggest one at Walmart. It cost about $70. I charge it about once a month and leave it on the boat. So far I haven't needed it for myself. But one day last fall I started a boat at my condo and a boat stranded at anchor on the same charge. During the winter I keep it in my wife's car, just in case.
jrc is offline   Reply With Quote
Old 01-20-2006, 11:50 AM   #4
Skip
Senior Member
 
Skip's Avatar
 
Join Date: Apr 2004
Location: Dover, NH
Posts: 1,615
Thanks: 256
Thanked 514 Times in 182 Posts
Default Battery protector.....

Hi RG,

I have had experiences with both the dual battery set-up and the battery protectors you reference. I also tote around a jump pack, but I find my neighbors are using the darn thing more than I ever intended!

As Woodsy points out, with the manual select switches you could find yourself in the same dilemma.

Also, the expense of the second battery, wiring and switch along with installation (if you do not tackle the job yourself) is much more expensive than the battery protector.

The battery protector is extremely easy to install, if you can disconnect your battery easily (all you need is a the appropriate wrench or socket) you can install the protector. Its a fifteen minute job at most, and that's with coffeee break included......

The protector operates automatically so there is nothing to forget or set.

Judging form the type of use you get out of your boat, the protector would be a more economical and practical route to take.
I have used the protector you reference for the last several years on my boat, wouldn't be without it in the future!

Skip
Skip is offline   Reply With Quote
Old 01-20-2006, 12:13 PM   #5
DRH
Senior Member
 
DRH's Avatar
 
Join Date: Jul 2002
Location: Meredith
Posts: 1,694
Thanks: 1,212
Thanked 677 Times in 179 Posts
Default Jump Pack

Hi RG,

We have a jump pack and have used it to start a car (which it easily did), but fortunately we haven't had the need to jump-start the boat with it yet. These packs are not expensive (the one we have cost under $100), and it has it's own built-in charger for keeping it at 100% capacity.
__________________
DRH
DRH is offline   Reply With Quote
Sponsored Links
Old 01-20-2006, 12:38 PM   #6
Misty Blue
Senior Member
 
Join Date: Jul 2004
Posts: 658
Thanks: 121
Thanked 283 Times in 98 Posts
Default Dead batteries

First off RIG, thank goodness that you were OK. I find that it helps to shout "Bread and Butter" as you run!

As for the battery issue I kind of like that Battery Saver that Skip uses, It's a new one on me. But I am a real fan of the jumper/booster packs. We use them all of the time. One bit of advice though, if you go for a top end one they sometimes come with a "polarity sensitive" feature that at first I liked. You don't have to mess with positive and negative poles. The jump pack knows and will set itself up for the boost. The problem is that it will not work on a flat dead battery because it can't fugure out which pole is which. I have decided to go with the manual units.

As for the battery itself, please don't buy Walmart marine batteries. This is a case of "you get what you pay for". Go to your marina and spend the extra for a quality marine battery. In the long run it will save you money and some day it may save even more than that.

Misty Blue.
Misty Blue is offline   Reply With Quote
Old 01-20-2006, 01:50 PM   #7
Bear Islander
Senior Member
 
Bear Islander's Avatar
 
Join Date: Apr 2004
Location: Bear Island
Posts: 1,764
Thanks: 32
Thanked 441 Times in 207 Posts
Default

I think a jumper pack is a handy thing to have. It can jump a car, boat, electric start generator or snow blower.

Be sure to get one with a 12 volt outlet like in a car. This can be used with your existing cables to charge a cell phone, operate a radio or whatever in a power outage. I have used one to operate my CPAP breathing machine during a power failure.
Bear Islander is offline   Reply With Quote
Old 01-20-2006, 02:50 PM   #8
Gray Ghost
Junior Member
 
Join Date: Apr 2004
Posts: 11
Thanks: 0
Thanked 2 Times in 1 Post
Default Different Opinion

Overton sayes,
“Avoid The Senseless Death Of Your Boat Battery With PriorityStart® When you've accidentally left on accessories or had a power draining short circuit, PriorityStart® saves the day. This automatic computerized on/off switching system monitors your battery level and disconnects the battery when voltage drains below 11.9 volts. When you're ready to start the boat, PriorityStart® automatically reconnects the battery when the ignition key, running lights, or other electrical device is turned on. Handles 1000 starting amps. Installs in minutes with three easy steps”

The description of the Battery Protector in Overton’s, does not jive with accepted battery science. A battery voltage of 11.9 volts indicates that the battery is discharged. A tutorial of batteries characteristics can be viewed at: http://www.batterystuff.com/tutorial_battery.html and at http://www.marine-electronics.net/te..._faq/b_faq.htm

As a reference the following table provides state of charge vs. voltage.

100% 12.7
75% 12.4
50% 12.2
25% 12.0
0% 11.9

An alternative scheme is;
A dual battery connected via a selectable battery switch, http://www.perko.com/Perko%20Catalog/105-120/lfbbs.pdf or similar, and a means of charging the second battery using a battery combiner http://www.yandina.com/acrobats/C70Manual.pdf would be a way that provides engine starting.
If the primary battery is dead due to electrical load that is left on, then switch the dual battery switch to battery # 2, which is fully charged, and start the motor. While on you way to your destination, the battery combiner will charge the primary battery. The two battery scheme give you a fully charge battery all the time and especially in time of crisis.
Gray Ghost is offline   Reply With Quote
Old 01-20-2006, 03:27 PM   #9
Skip
Senior Member
 
Skip's Avatar
 
Join Date: Apr 2004
Location: Dover, NH
Posts: 1,615
Thanks: 256
Thanked 514 Times in 182 Posts
Default Further info on Priority Start....

Quote:
Originally Posted by Gray Ghost
Overton sayes...The description of the Battery Protector in Overton’s, does not jive with accepted battery science. A battery voltage of 11.9 volts indicates that the battery is discharged...
Actually, the device disconnects when voltage drops to 11.9volts for one minute.

The added benefit is that it won't allow the battery to go below the set voltage and therefore won't let a leak caused by a blower or a nav light to deep discharge the battery. While this is not as much as a concern for a deep cycle battery, a starting or combination battery will be damaged and potentially destroyed by just a few cycles of what RG experienced!

It actually is quite a complicated little critter, you can read all the info you want at the parent site at:

http://www.prioritystart.com/

Anyway, we have used it on emergency vehicles here for quite some time, and on my own boat as mentioned previously.

Works great and is the simplest/safest/most economical answer to your concern.

Drop me a PM if I can provide you any further info.....

Skip
Skip is offline   Reply With Quote
Old 01-20-2006, 04:10 PM   #10
SIKSUKR
Senior Member
 
SIKSUKR's Avatar
 
Join Date: Apr 2004
Posts: 5,075
Thanks: 215
Thanked 903 Times in 509 Posts
Default

I love my jump pack.Plenty of power to start even a 500 hp motor.I've started garden tractors.snow blowers,all kinds of equipment.I've enen used it in power outages to watch my little 5 inch ac/dc tv.Very handy to have around but as Skip stated,the neighbors will be your best friends.Get one,you won't be sorry.
__________________
SIKSUKR
SIKSUKR is offline   Reply With Quote
Old 01-20-2006, 04:50 PM   #11
ApS
Senior Member
 
ApS's Avatar
 
Join Date: Jan 2005
Location: Florida (Sebring & Keys), Wolfeboro
Posts: 6,026
Thanks: 2,275
Thanked 786 Times in 562 Posts
Thumbs up Get Two!

$38.95.

Here's what a typical 12-V Portable Battery looks like:
http://www.usaveautomotive.com/conte...62I2XE,00.html
ApS is offline   Reply With Quote
Old 01-20-2006, 04:51 PM   #12
Just Sold
Senior Member
 
Just Sold's Avatar
 
Join Date: Apr 2004
Location: Suncook, NH, but at The Lake at Heart
Posts: 2,615
Thanks: 1,083
Thanked 434 Times in 210 Posts
Thumbs up Dual Batteries and a jump pack

RG,

I have a dual battery system which allows the use of one or both batteries. With it I can also turn off all power which is added safety when the boat is not in use. Of course you do have to remember to turn it off/on . It was not expensive to install except for the cost of the 2nd battery. My boat yard requires them for all rack stored boats.

I also recommend keeping a jump pack with you being on the island. They are invaluable as has been noted here by others. It can come in handy in the winter too, like when the boy's cars don't start.
__________________
Just Sold
At the lake the stress of daily life just melts away. Pro Re Nata
Just Sold is offline   Reply With Quote
Old 01-20-2006, 05:17 PM   #13
BroadHopper
Senior Member
 
BroadHopper's Avatar
 
Join Date: Oct 2004
Location: Laconia NH
Posts: 5,613
Thanks: 3,245
Thanked 1,113 Times in 799 Posts
Exclamation Wal-Mart vs Marina

The 'you get what you pay for' hold true. However, I get my batteries from Sam's at half the cost of the marina. I have dual batteries with the contoller, I usually switched it to off, when I am gone for a few days. The bilge pump is on a seperate circuit so that is never without power.
In the winter, I store it on a piece of lumber in the cellar and trickle charge it once a month. I usually get 6 years out of the start/deep charge batteries. I'd like to try the battery protector mentioned above and see if I can get more years out of it.
__________________
Someday may never be an actual day.
BroadHopper is offline   Reply With Quote
Old 01-20-2006, 06:06 PM   #14
Mee-n-Mac
Senior Member
 
Mee-n-Mac's Avatar
 
Join Date: Sep 2003
Posts: 1,943
Thanks: 23
Thanked 111 Times in 51 Posts
Thumbs up Jump pack

The best answer depends on how you use your boat. Dual batts are nice because you can have 1 deep cycle and 1 starting batt (or a dual purpose) and use each when it's needed, having the other as back up. Wiring a 2'nd one in is a piece of cake. If you don't spend a lot of time on the lake with the engine off and juice on, or if you don't have the space for a 2'nd batt then the added complexity of having to remember to manually switch them won't be worth the hassle. There are more complex schemes that take the memory out of it but they can be $$s. My guess is this (dual batt) route is overkill for you.

A battery saver is a good thing, also easy to install, and doesn't need as much space as dual batts. Good thing to have if you drift about on the lake with the radio on and engine off. If you go this way and want a hand installing it, let me know.

The jump pack is more versatile as it can be used on the boat (if you remember to store it there) as well as off the boat. Might be handy on the island to have a portable, spare 12V outlet. I'd say go for the jump pack.
__________________
Mee'n'Mac
"Never attribute to malice that which can be explained by simple stupidity or ignorance. The latter are a lot more common than the former." - RAH
Mee-n-Mac is offline   Reply With Quote
Old 01-20-2006, 06:33 PM   #15
Gray Ghost
Junior Member
 
Join Date: Apr 2004
Posts: 11
Thanks: 0
Thanked 2 Times in 1 Post
Default

From Skip:
“Actually, the device disconnects when voltage drops to 11.9volts for one minute.”

This is the condition that defines a discharge battery. Now, is there some juice left? Yes. Is it sufficient on a cold rainy night to get an engine started? Maybe. Give me a fully charged reserved battery that can be switched in any day of the week, that will crank that engine over until it starts. This is not the time to be playing with maybes.

Test procedure from Priority Start. (.Could not copy, had to type in.)
“Leave your headlights on to drain voltage of the battery (do not use any accessory i.e. engine fans, power supply, light bar or any other accessory to “quickly discharge the battery- this can cause damage). When the battery reaches a pre-determined level, it will shut off (the voltage setting is approximately 11.7).” etc.
:

Q: Does PriorityStart! disconnect the battery while the engine is running?
A: No. PriorityStart! is designed to provide battery protection when the engine is NOT running (ignition switch in the off position). It will not disconnect the battery when the engine is running, even though the battery voltage level drops below the factory-set safe threshold. Circuits within this product recognize an "engine running" condition by sensing electrical "noise" (30 mill volts) created by fuel injectors, fuel pump, fan motors, etc., and will not disconnect the vehicle battery. If a vehicle alternator or alternator belt fails, the "engine running" circuitry recognizes the condition and prevents disconnection at the 11.7-volt threshold, allowing the vehicle to continue on the reserve capacity of the battery. In such a situation you are entirely dependent on the reserve capacity of the battery. PriorityStart! will not disconnect the battery as long as the engine is running.

In the preceding 2 paragraphs there are statements that if there is electrical noise; like a fan or engine compartment blower running, the circuit will not disconnect the battery. This is the condition that Rattlesnake Gal and Guy were dealing with.


Q: Doesn't the introduction of PriorityStart! in battery circuit decrease reliability?
A: No. PriorityStart! incorporates a patented heavy duty contact and gear drive system that disconnects and reconnects the battery only when required. The contact resistance is less than 2 milliohm (two thousandth of an ohm), and, in the closed position, exerts a clamping force greater than 75 linear pounds. The net effect of these features is an electrical connection superior to even a normal battery post/cable clamp connection.
PriorityStart! is an electro-mechanical device, thus when it operates you may hear the gears engage, this is normal. The quiescent draw is 4 milliampere in the connect mode, 8 milliampere in the disconnect. Similar to a small LED, or a "negligible" draw. The units are tested and certified to ISO, USCG and SAE standards, shock and vibration protected and is transferable from vehicle to vehicle.

In the preceding paragraph about a decrease reliability with this circuit in the battery circuit. The correct answer is yes. Any time you introduce additional electrical or mechanical devices in series with an existing circuit, the reliability of the circuit will decrease because, of the added components that were introduced which can fail. To increase the reliability of a circuit function, you add a redundant circuit in parallel to take over when the prime circuit fails.

I find that reviewing the Priority Start web site, there is a lot of sales hype.

The jump pack is definitely a viable solution, if the Rattlesnake Gal is incline to use one.
Gray Ghost is offline   Reply With Quote
Old 01-20-2006, 06:41 PM   #16
Skip
Senior Member
 
Skip's Avatar
 
Join Date: Apr 2004
Location: Dover, NH
Posts: 1,615
Thanks: 256
Thanked 514 Times in 182 Posts
Default Priority Start

Don't know about the "sales hype", I can only go with actual experience with the device, which is that it works as advertised.

I do agree that a jump pack may be a more versatile device for RG, the dual battery set-up for a very occasional discharge is like swatting a fly with a sledgehammer.

I'll PM you about the device, you are misunderstanding how it senses voltage discharge.....boring details for the rest of the readers of this thread!

Skip
Skip is offline   Reply With Quote
Old 01-20-2006, 07:23 PM   #17
Yankee
Senior Member
 
Yankee's Avatar
 
Join Date: Dec 2005
Posts: 150
Thanks: 19
Thanked 38 Times in 23 Posts
Default Dual battery set up

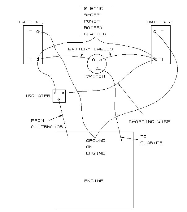
The battery protector is great, but also get a 2nd battery. While your at it, adding shore power is a simple addition. Here's a sketch of how to wire it:
Attached Images
 
__________________
__________________
__________________
So what have we learned in the past two thousand years?

"The budget should be balanced, the Treasury should be refilled, public debt should be reduced, the arrogance of Obamunism should be tempered and controlled, and the assistance to foreign lands should be curtailed lest the Republic become bankrupt. People must again learn to work, instead of living on public assistance."

. . .Evidently nothing.

(Cicero, 55 BC augmented by me, 2010 AD)
Yankee is offline   Reply With Quote
Old 01-20-2006, 07:27 PM   #18
secondcurve
Senior Member
 
Join Date: Jan 2005
Posts: 2,128
Thanks: 1,349
Thanked 564 Times in 291 Posts
Default Redundancy

RG:

You obviously spend a lot of time on the lake and Rattlesnake so be extra safe. I have found that redundancy is paramont with boats for safety sake. I guess I am paranoid, but I have a dual battery set-up on my boat and a jump pack for back-up. It is a small cost to pay to feel truly safe, especially for an island dweller. Also, don't forget to relace those batteries every two years. I stagger mine so that I am replacing one a year. Again, overkill but I like to feel safe. Finally, I have to assume that you are a member of Sea Tow. Please tell me that you are!
secondcurve is offline   Reply With Quote
Old 01-20-2006, 08:01 PM   #19
Yankee
Senior Member
 
Yankee's Avatar
 
Join Date: Dec 2005
Posts: 150
Thanks: 19
Thanked 38 Times in 23 Posts
Default

Quote:
Originally Posted by secondcurve
RG:

Also, don't forget to relace those batteries every two years. I stagger mine so that I am replacing one a year.

Very good point! I do the same thing, it's easier on the pocket book!
__________________
__________________
__________________
So what have we learned in the past two thousand years?

"The budget should be balanced, the Treasury should be refilled, public debt should be reduced, the arrogance of Obamunism should be tempered and controlled, and the assistance to foreign lands should be curtailed lest the Republic become bankrupt. People must again learn to work, instead of living on public assistance."

. . .Evidently nothing.

(Cicero, 55 BC augmented by me, 2010 AD)
Yankee is offline   Reply With Quote
Old 01-20-2006, 08:09 PM   #20
Paugus Bay Resident
Senior Member
 
Paugus Bay Resident's Avatar
 
Join Date: Sep 2003
Location: Gilmanton, NH
Posts: 754
Thanks: 136
Thanked 93 Times in 51 Posts
Default

I'd second (or third) the jump pack. We always carry one. It's bailed us out a time or two and helped out some other people as well. I think we got ours at Walmart for around $50 or $60.
Paugus Bay Resident is offline   Reply With Quote
Old 01-20-2006, 08:19 PM   #21
Silver Duck
Senior Member
 
Silver Duck's Avatar
 
Join Date: Apr 2004
Location: Billerica, MA
Posts: 364
Thanks: 40
Thanked 4 Times in 3 Posts
Default

RG

In your situation, there is no such thing as overkill. If, God forbid, you have another severe alergic reaction your life may depend on your ability to get off the island immediately.

If it were me or a family member in that situation, I would much rather simply change a battery switch position than need to get into the engine compartment and mess with jump starting the engine. It isn't really all that hard to remember to change which battery you are using every week or two in order to keep both batterys fully charged!

Silver Duck
Silver Duck is offline   Reply With Quote
Old 01-20-2006, 10:23 PM   #22
fatlazyless
Senior Member
 
fatlazyless's Avatar
 
Join Date: Apr 2004
Posts: 8,910
Blog Entries: 1
Thanks: 305
Thanked 1,051 Times in 765 Posts
Default

Yoooooo, as long as you have a boat with a standard manual transmission and not one of them new auto-matic transmissions, you can always let the clutch out in 2nd gear as it rolls down hill. In NH, hills are everywhere. That works just like a starter. Why even bother to fix the starter once it breaks for the last time? Just park your boat on a hill, way easy!
fatlazyless is offline   Reply With Quote
Old 01-21-2006, 01:09 AM   #23
GWC...
Senior Member
 
GWC...'s Avatar
 
Join Date: Apr 2004
Posts: 1,325
Thanks: 5
Thanked 0 Times in 0 Posts
Default

Quote:
Originally Posted by secondcurve
RG:
I stagger mine so that I am replacing one a year. Again, overkill but I like to feel safe.
Been told on more than one occasion that a weak battery will pull-down a strong one. So, the rule has been, if one battery needs replacing, replace all. Saves a walk or a row.

Speaking of a row, you should have a rowboat as final backup on an island, in case of a powertrain failure - healthy battery(s) will be of little use; although the jump-pack might double as an anchor.
GWC... is offline   Reply With Quote
Old 01-21-2006, 02:17 AM   #24
Mee-n-Mac
Senior Member
 
Mee-n-Mac's Avatar
 
Join Date: Sep 2003
Posts: 1,943
Thanks: 23
Thanked 111 Times in 51 Posts
Default Good Point

Quote:
Originally Posted by Silver Duck
RG

In your situation, there is no such thing as overkill. If, God forbid, you have another severe alergic reaction your life may depend on your ability to get off the island immediately.

If it were me or a family member in that situation, I would much rather simply change a battery switch position than need to get into the engine compartment and mess with jump starting the engine. It isn't really all that hard to remember to change which battery you are using every week or two in order to keep both batterys fully charged!

Silver Duck
Good point, if you really have a need to get started right now then the jump pack is more of a hassle (depends a lot on how accessible your battery is and if you're worried about having to do it by yourself). You could do like the tow truck drivers do and add a high current quick connect port to the boat battery. You get to retain the versatility of the jump pack though if sheer speed is important I'd then opt for the batt saver.

FWIW: If you (RG) do go the 2 batt route, I highly recommend an automatic charging relay (ACR) be included (extra $$ = ~100). Looking at Yankee's schematic, it's the "isolator". This allows the alternator to charge both batteries while the engine is running instead of the more normal case wherein only the battery switched to "on" is charged. It also isolates the 2 batts when the engine is off so you don't get into the situation GWC describes, where a dead battery draws down the good one because you left the battery switch to "both" in order to charge them both up.
__________________
Mee'n'Mac
"Never attribute to malice that which can be explained by simple stupidity or ignorance. The latter are a lot more common than the former." - RAH
Mee-n-Mac is offline   Reply With Quote
Old 01-21-2006, 01:32 PM   #25
secondcurve
Senior Member
 
Join Date: Jan 2005
Posts: 2,128
Thanks: 1,349
Thanked 564 Times in 291 Posts
Default

GWC:

Good Point. I should have noted that I have the set-up that Mac alluded to above. I have a boat that was repowered recently and when the mechanic did the work he set my batteries up so that they would work independent of one another. The mechanic made a bid deal of it at the time, and I didn't fully appreciate what he was talking about until later. As usual, Mac is right on top of things.
secondcurve is offline   Reply With Quote
Old 01-22-2006, 05:47 PM   #26
Rattlesnake Gal
Senior Member
 
Rattlesnake Gal's Avatar
 
Join Date: Nov 2003
Location: Central NH
Posts: 5,253
Blog Entries: 1
Thanks: 1,455
Thanked 1,357 Times in 476 Posts
Talking Thanks Everyone For The Excellent Input!

Thank you very much for the great advice!
I knew you would come through for me. I feel very fortunate to call you friends.
Thanks again!
RG
Rattlesnake Gal is offline   Reply With Quote
Reply

Bookmarks


Posting Rules
You may not post new threads
You may not post replies
You may not post attachments
You may not edit your posts

BB code is On
Smilies are On
[IMG] code is On
HTML code is On

Forum Jump


All times are GMT -4. The time now is 01:03 PM.


Powered by vBulletin® Version 3.8.11
Copyright ©2000 - 2025, vBulletin Solutions Inc.

This page was generated in 0.19887 seconds